Práctica 5

Neumática e Hidráulica

Regresar a Teoría

Introducción

En la presente práctica se busca profundizar en el estudio y comprensión de los sistemas neumáticos e hidráulicos, que son fundamentales en diversas aplicaciones industriales. Para lograrlo, se desarrollan simulaciones utilizando el software FluidSim y se construyen físicamente varios circuitos que emplean cilindros de simple y doble efecto, tanto neumáticos como hidráulicos. A través de estas simulaciones y montajes, se investigan los diferentes componentes involucrados, como válvulas, actuadores y fuentes de alimentación, con el objetivo de identificar su funcionamiento, simbología y aplicaciones en un entorno real. Esta práctica permite familiarizarse con los elementos clave de estos sistemas, brindando una experiencia práctica que refuerza el conocimiento teórico adquirido.

Instrucciones PDF
...

Objetivo general

Conocer, investigar e identificar los componentes de los sistemas neumáticos e hidráulicos.

Objetivos específicos

  • Identificar los componentes del circuito 1 (cilindro de simple efecto neumático) y realizar una tabla comparativa con su función, simbología y foto de componente real.
  • Realizar la simulación en FluidSim del circuito 1, construir físicamente el circuito neumático, grabar un video del funcionamiento y adjuntarlo en el reporte de práctica.
  • Identificar los componentes del circuito 2 (cilindro de simple efecto hidráulico) y realizar una tabla comparativa con su función, simbología y foto de componente real.
  • Realizar la simulación en FluidSim del circuito 2, grabar un video del funcionamiento y adjuntarlo en el reporte de práctica.
  • Identificar los componentes del circuito 3 (cilindro de doble efecto neumático) y realizar una tabla comparativa con su función, simbología y foto de componente real.
  • Realizar la simulación en FluidSim del circuito 3, construir físicamente el circuito neumático, grabar un video del funcionamiento y adjuntarlo en el reporte de práctica.
  • Identificar los componentes del circuito 4 (cilindro de doble efecto hidráulico) y realizar una tabla comparativa con su función, simbología y foto de componente real.
  • Realizar la simulación en FluidSim del circuito 4, grabar un video del funcionamiento y adjuntarlo en el reporte de práctica.

Marco Teórico: Sistemas Neumáticos e Hidráulicos

Presión y Leyes Fundamentales

La presión es una magnitud clave en sistemas neumáticos e hidráulicos, representada como la fuerza ejercida sobre una superficie por unidad de área (P = F/A). La presión y el volumen de un gas se comportan de acuerdo con ciertas leyes fundamentales, tales como:

  • Ley de Boyle-Mariotte: Para un gas a temperatura constante, el producto de la presión y el volumen es constante: P₁V₁ = P₂V₂.
  • Ley de Charles-Gay Lussac: Afirma que, a volumen constante, la presión de un gas es directamente proporcional a su temperatura: P₁/T₁ = P₂/T₂.

Elementos de una Instalación Neumática

Los sistemas neumáticos incluyen varios componentes esenciales para su funcionamiento y control:

  • Compresor: Genera el aire comprimido necesario para el sistema.
  • Unidad de mantenimiento (FRL): Consiste en un filtro, un regulador de presión y un lubricador, que acondicionan el aire para proteger y prolongar la vida útil de los componentes.
  • Válvulas: Controlan el flujo y la dirección del aire comprimido. Se pueden clasificar según el número de vías y posiciones.
  • Actuadores: Convierte la energía del aire comprimido en movimiento mecánico. Ejemplos comunes son los cilindros neumáticos y motores de aire.

Tipos de Compresores

Los compresores son fundamentales en los sistemas neumáticos, ya que generan el aire comprimido. Algunos tipos comunes de compresores son:

  • Compresor de pistón: Utiliza pistones para comprimir el aire en una o varias etapas, adecuado para aplicaciones de baja y media presión.
  • Compresor de tornillo: Emplea rotores en espiral que comprimen el aire de forma continua, ideal para aplicaciones industriales que requieren un flujo constante.
  • Compresor de paletas: Posee un rotor con paletas deslizantes que comprimen el aire, ofreciendo una operación silenciosa y continua.
  • Turbo compresor radial: Utilizado en aplicaciones de alta potencia, este compresor emplea rotores de alta velocidad para comprimir el aire a gran presión.

Tipos de Válvulas y Nomenclatura según ISO y CETOP

Las válvulas son componentes que controlan el flujo de aire en un sistema neumático. La norma ISO y CETOP establecen la nomenclatura para clasificar las válvulas según el número de vías y posiciones, así como el tipo de accionamiento:

  • Válvula 2/2: Tiene dos vías y dos posiciones, y controla el paso de aire entre una entrada y una salida.
  • Válvula 3/2: Cuenta con tres vías y dos posiciones, utilizada para aplicaciones que requieren un flujo de aire con escape.
  • Válvula 4/2 y 5/2: Estas válvulas controlan actuadores de doble efecto, permitiendo el control de movimiento en ambas direcciones.

El accionamiento de las válvulas puede ser manual, neumático, eléctrico o mecánico, según el diseño y las necesidades de la aplicación.

Tipos de Cilindros

Los cilindros neumáticos son actuadores que convierten la energía del aire comprimido en movimiento lineal. Se clasifican en dos tipos principales:

  • Cilindro de simple efecto: Recibe presión de aire en un solo sentido, mientras que el retorno a su posición original es facilitado por un resorte.
  • Cilindro de doble efecto: Recibe presión de aire en ambos lados, permitiendo un control completo de su movimiento de extensión y retracción.

La fuerza que puede generar un cilindro depende de la presión aplicada y el área del pistón, calculada mediante la fórmula: F = P × A, donde F es la fuerza, P es la presión y A es el área.

Aplicaciones de los Cilindros Neumáticos

Los cilindros neumáticos son ampliamente utilizados en diferentes industrias debido a su capacidad de generar movimiento lineal. Algunas aplicaciones típicas incluyen:

  • Automatización: En líneas de ensamblaje para mover piezas entre estaciones de trabajo.
  • Empaque y manipulación: Utilizados en máquinas de embalaje para mover y acomodar productos.
  • Sistemas de control de puertas: En puertas automáticas, proporcionando apertura y cierre controlados.
  • Prensas neumáticas: En operaciones de ensamblaje, impresión y prensado de materiales ligeros.

Diagramas de Movimiento de Cilindros

Los diagramas de movimiento de cilindros muestran la secuencia de trabajo de un cilindro dentro de un sistema neumático. Estos diagramas permiten visualizar los momentos en que se aplica presión para extender o retraer el cilindro, y son esenciales en el diseño de sistemas de automatización. Existen diagramas para ciclos simples y complejos, que representan movimientos sincronizados entre múltiples cilindros para tareas específicas.

Estos diagramas también ayudan a optimizar los tiempos y las secuencias en sistemas neumáticos, permitiendo una operación más eficiente y un mejor control de las tareas en sistemas automáticos.

Simulación y circuitos 1 y 2

Componente Función Simbología Foto del componente real
Bobina (Relevador) Sirve para cerrar o abrir circuitos de potencia e implemantar lógica cableada. Esto lo realizan mediante una bobina que al energizarse crea un campo magnetico que activa mueve un interruptor. Simbología Bobina Foto Bobina
Interruptor Son de accionamiento manual con dos posiciones. Contienen un sistema de enclavamiento. Simbología Interruptor Foto Interruptor
Linea, Fase Conductor que lleva la corriente eléctrica desde la fuente de energía hasta el punto de consumo. Simbología Interruptor Foto Interruptor
Nuetro Conductor que regresa la corriente al origen, completando el circuito eléctrico. Simbología Interruptor Foto Interruptor
Fuente 24V Necesarias para alimentar con corriente todos los componentes. Envían energía y convierten la corriente alterna en directa para alimentar ciertos circuitos. Simbología Interruptor Foto Interruptor
Botones / pulsadores Permiten abrir y/o cerrar circuitos cuando se ejerce presión sobre él. Simbología Interruptor Foto Interruptor
Lámpara Dispositivos de señalización luminosa. Pueden indicar el estado del sistema, fallos y alarmas. Simbología Lámpara Foto Lámpara
Unidad de mantenimiento Aparato diseñado para depurar el aire comprimido en una planta y mentener su calidad para sistemas neuméticos. Simbología Lámpara Foto Lámpara
Cilindro de simple efecto Tipo de actuador que genera un movimiento lineal que solo requiere de una entrada ya que su retorno a posición inicial es por muelle. Simbología Lámpara Foto Lámpara
Cilindro de doble efecto Tipo de actuador que genera un movimiento lineal que solo requiere de dos entradas una para accionarlo y otra para regresarlo a su posición inicial. Simbología Lámpara Foto Lámpara
Fuente de aire comprimido Suministra aire comprimido a presión. Simbología Lámpara Foto Lámpara
Fuente de aceite Suministra aceite a presión. Simbología Lámpara Foto Lámpara
Válvula Dispositivo que controla y dirige el aire comprimido (o aceite), regulando su presión, caudal, dirección, entrada y salida, y habilitación o cierre. Esta puede tener varias entradas y salidas a la vez que diferentes formas de activación y desactivación (por muelle, botones, palancas, electrónicas, por aire, etc.). Simbología Lámpara Foto Lámpara
Silenciador neumático Dispositivo que se coinecta a la salida de las válulas para disminuir el ruido de escape de aire a presión. Simbología Lámpara Foto Lámpara
Simulación de circuitos

Se muestran los distintos automatismos neumáticos e hidráulicos para la práctica de manera simulada en FluidSim. Se pueden diferenciar por la entrada de un triangulo vacio para aire (neumática) o de un triangulo relleno para aceite (hidráulica).

Documento de simulación FluidSim
...
...
Elementos utilizados

Se utilizan un piston de simple efecto, un piston de doble efecto, una válvula con pulsador y regreso con resorte con una entrada y dos salidas (salida a piston y escape de aire), una válvula con pulsador y regreso con resorte con una entrada y cuatro salidas (dos salidas a piston y dos escapes de aire).

...
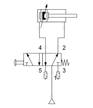
1er Automatismo neumático

Este se basa en un pistón neumático de simple efecto que funciona con una válvula de pulsador y regreso con resorte con una entrada y dos salidas (salida a piston y escape de aire). Entonces al presionar el bóton este se estira y con un muelle al dejar de presionarlo se retrae.

...
2do Automatísmo neumático

Este se basa en un pistón neumático de doble efecto que funciona con una válvula de pulsador y regreso con resorte con una entrada y dos salidas (salida a piston y escape de aire). Entonces al presionar el bóton este se estira y con aire al soltar el botón se empuja en el otro sentido.

Conclusión

Al finalizar la práctica, se logró identificar y analizar en profundidad los componentes de los sistemas neumáticos e hidráulicos, tanto en simulaciones como en montajes físicos. A través de la construcción de circuitos con cilindros de simple y doble efecto, se comprobó la importancia de cada componente en el correcto funcionamiento de los sistemas. Las comparaciones entre los diferentes circuitos permitieron destacar las ventajas y limitaciones de los sistemas neumáticos frente a los hidráulicos, así como su aplicabilidad en distintos escenarios industriales. En conclusión, esta práctica proporcionó un valioso aprendizaje sobre el control y funcionamiento de los sistemas neumáticos e hidráulicos, permitiendo consolidar los conocimientos teóricos con una aplicación práctica efectiva.

Referencias Bibliográficas